Nem ve Sıcaklık Transmitteri - Kanal Tipi
Duvar Tipi "Sıcaklık ve Nem ölçer” bir çok sektörde popülerdir. Atölye, istasyon, bina, meteoroloji, bilimsel araştırma, kimya endüstrisi, otel, tıp merkezi, çevre koruma, gıda, depolama, HVAC vb. gibi sıcaklık ve nemin ölçülmesi ve kontrol edilmesi gereken çeşitli alanlarda yaygın olarak kullanılmaktadır.
Endüstriyel otomasyon ve iklimlendirme sistemlerinde kritik bir rol oynayan Nem ve Sıcaklık Transmitteri - Kanal Tipi, ortamdaki fiziksel değişimleri algılayıp bu verileri standart elektriksel sinyallere (genellikle 4-20 mA veya 0-10V) dönüştüren cihazlardır.
Bu cihazlar, hassas ölçüm gerektiren proseslerde verilerin PLC, Scada veya bir kontrol cihazı tarafından okunabilmesini sağlar.
Temel Bileşenler ve Çalışma Prensibi
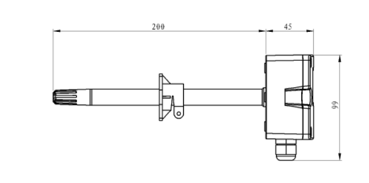
- Sensör Elemanı: Cihazın uç kısmında bulunan ve ortamdaki bağıl nem (RH) ile sıcaklığı ölçen kısımdır. Genellikle kapasitif nem sensörleri ve RTD (PT100/PT1000) sıcaklık elemanları kullanılır.
- Elektronik Devre: Sensörden gelen zayıf sinyali işler, kalibre eder ve standart bir çıkış sinyaline dönüştürür.
- Koruyucu Filtre: Sensör ucunu tozdan, sıvı temasından ve kimyasal partiküllerden korumak için metal sinterlenmiş veya plastik ızgaralı filtreler kullanılır.
Teknik Özellikler ve Seçim Kriterleri
Bir transmitter seçerken uygulamanızın gereksinimlerine göre şu detaylara dikkat etmeniz gerekir:
- Çıkış Sinyali: * Analog: 4-20 mA (uzun mesafeli iletim için ideal) veya 0-10 V.
- Dijital: RS485 Modbus RTU (birden fazla cihazı tek hat üzerinden okumak için).
- Montaj Tipi:
- Duvar Tipi: Oda içi veya depo ölçümleri için.
- Kanal Tipi: Havalandırma kanallarına monte edilen prob yapısına sahip modeller.
- Kablolu/Problu Tip: Sensörün gövdeden ayrı olduğu, yüksek sıcaklık veya dar alanlar için uygun modeller.
- Ölçüm Aralığı: Genellikle nem için %0-100 RH, sıcaklık için ise modele göre -40°C ile +120°C (veya daha fazlası) arasıdır.
- Hassasiyet: Standart modellerde nem için ±%2 veya ±%3 RH tolerans payı bulunur.
Kullanım Alanları
- HVAC Sistemleri: Bina otomasyonu ve havalandırma kontrolü.
- Gıda ve İlaç Depoları: Ürünlerin bozulmaması için sabit iklim şartlarının takibi.
- Seralar: Bitki gelişimi için ideal nem ve sıcaklık dengesinin korunması.
- Veri Merkezleri (Data Centers): Sunucuların aşırı ısınmasını ve statik elektrik riskini (düşük nem) önlemek.
• • Tekstil ve Kağıt Endüstrisi: Malzeme kalitesini korumak için yüksek nem kontrolü.
